閉じる

吊荷旋回制御装置

アクアジャスター

NETIS
NETIS登録番号 : KTK-210015-VE
アクアジャスター

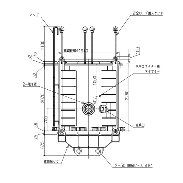
アクアジャスター 寸法図

寸法図

アクアジャスター
アクアジャスター 寸法図
●水中で吊り荷を自由自在にリモコン操作で旋回可能です。
●湾岸工事、海上工事で活躍します。
商品コード DLP A1000 001
メーカー 大林組
型式 AJ-325
最大吊荷重(t) 100(4点吊り)
定格能力(t・m²) 325
リモコン 水中音響通信装置・船上無線機
電源 AC電源/バッテリー切替式
AC電源:AC200V3相 30A
バッテリー:リチウム電池
質量(kg) 9,910
■仕組み
仕組み

関連チラシ・関連カタログなど

関連・おすすめ商品

新しいソリューションをお届けする情報サイト アクティオ レンサルティングマガジン

海・湾岸工事で活躍する建機。荷役作業の安全性と効率をアップ

TOP

まずはお気軽にご相談ください

商品に関するご質問やお見積りのご相談など、
弊社お問い合わせ窓口か最寄りの店舗まで
お問い合わせくださいませ。